Your cart is empty

  • Konstrukcje nośne

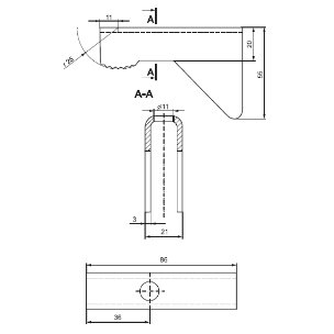
U-114

Declaration of conformity

Jaw holder

Hot-dip galvanized, according to BS 729 (EN ISO 1461)

Name H[mm] B[mm] L[mm] G[kg]
U-114F
55
21
86
0,2
+