Twój schowek jest pusty





  • Rury ochronne

SRS-W

Deklaracja zgodności

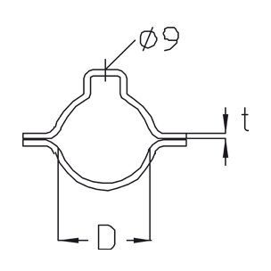
Pierścień montażowy.

Ocynk zanurzeniowo-ogniowy, zgodnie z BS 729 (EN ISO 1461)

Nazwa D[mm] t[mm] G[kg]
SRS-W 30F
31
4
0,21
+
SRS-W 60F
61
4
0,31
+

Stal nierdzewna, zgodnie z ASTM 304 / BS 304 S 3

Nazwa D[mm] t[mm] G[kg]
SRS-W 30E
31
4
0,21
+
SRS-W 60E
61
4
0,31
+